Galvano yüzey işlem proses ekipmanları

Pazartesi - Cuma ; 09:00 - 17:30
  • Türkçe
  • English

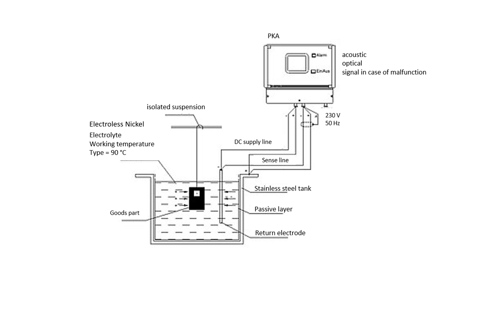
PKA 2
Uygulama
Paslanmaz çeliği korumak amacıyla tüm akımsız nikel kaplama proseslerinde. banyo koruma işlemcisi PKA 2, büyük ve laboratuvar tesisleri için kullanılır.

Ürün Açıklaması
Paslanmaz çelik tanklardaki akımsız nikel kaplama işlemleri sırasında, banyonun içinde hızla ve genellikle beklenmedik bir şekilde nikel birikintileri birikebilir. Bunun tankın pasif yüzeyine verdiği zarar nedeniyle proses banyosu daha fazla üretim için uygun olmaz ve büyük maliyetle yenilenmesi veya değiştirilmesi gerekir. PKA 2 anodik banyo koruma işlemcisi bunu önlemeye yardımcı olacak şekilde tasarlanmıştır. Dinamik doğal potansiyeli SCAN®, gerçek banyo potansiyelini izler ve gerekli minimum karşı potansiyeli otomatik olarak hesaplayıp uygular. Bu, elektrolitinizin daha uzun kullanım ömrü, daha düşük maliyetler ve daha yüksek düzeyde çalışma güvenliği anlamına gelir.

Müşteri Avantajları
PKA 2 anodik banyo koruma işlemcisi kullanılarak yüksek derecede proses güvenliği elde edilebilir. Dinamik doğal potansiyel SCAN (otomatik mod), gerçek banyo potansiyelini izler ve gerekli minimum karşı potansiyeli otomatik olarak hesaplayıp uygular.